Nissan Qashqai e-POWER Owners Manual | 2024
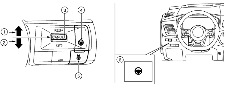
8.20.2. ProPILOT Assist switches

- <RES+> switch
- Resumes set speed or increases speed incrementally.
- <SET–> switch
- Sets desired cruise speed or reduces speed incrementally
- <CANCEL> switch
- Deactivates the ICC system without erasing the set speed
- ProPILOT Assist switch:
- Turns ProPILOT Assist on or off
- Distance switch
- — Long
- — Middle
- — Short
- Steering Assist Switch
- Turns the Steering Assist function on or off.
Owners Manual