Nissan Qashqai Owners Manual | 2024
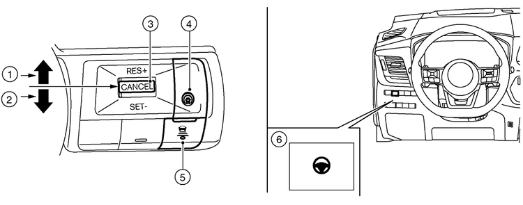
7.26.2. ICC and Steering Assist system Controls (manual transmission vehicles)

- <RES+> switch
- Resumes set speed or increases speed incrementally.
- <SET–> switch
- Sets desired cruise speed or reduces speed incrementally
- <CANCEL> switch
- Deactivates the ICC system without erasing the set speed
- Drive Assist switch
- Turns the ICC and Steering Assist system on or off.
- Distance switch
- — Long
- — Middle
- — Short
- Steering Assist Switch
- Turns the Steering Assist function on or off.
Owners Manual