Nissan X-Trail Owners Manual | 2024
6.8.1. Automatic air conditioner (models without rear control)

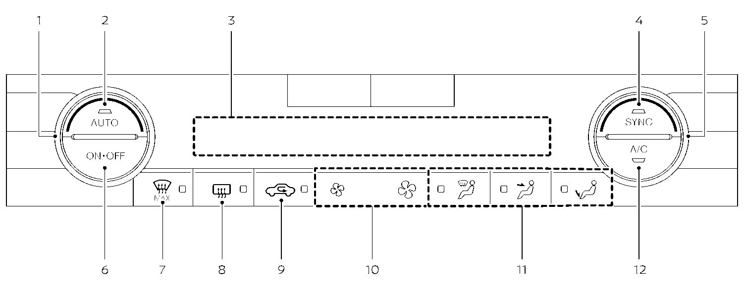
- Temperature control dial (driver’s side)
- <AUTO> (automatic) button
- Display screen
- <SYNC> (synchronise) button
- Temperature control dial (passenger’s side)
- <ON・OFF> button
-
(front defogger MAX) button -
(rear window defogger) button - (See .)
-
(air recirculation) button -
(fan speed control) buttons - Air flow control buttons
- <A/C> (air conditioner) button
The layout of the buttons may vary depending on the models and specifications.
Owners Manual