Nissan X-Trail Owners Manual | 2024
6.8.3.3. Rear temperature control

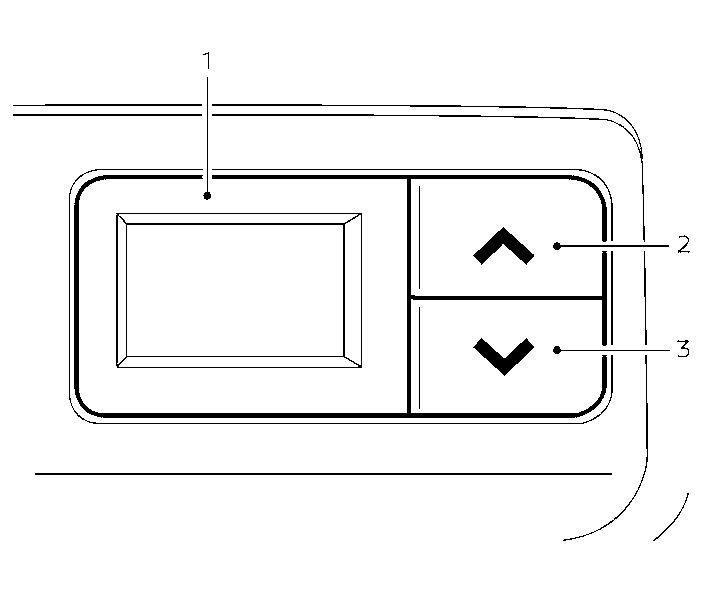
- Rear temperature display
Rear temperature increase button
Rear temperature decrease button
You can adjust the temperature for rear seat passengers using the buttons located on the back side of the console box.
Owners Manual