Nissan X-Trail Owners Manual | 2024
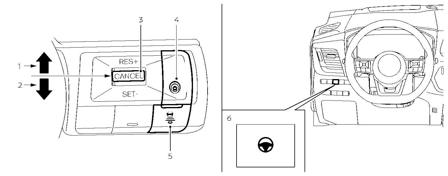
7.20.1.2. ProPILOT Assist switches

<RES+> operation:
Resumes vehicle set speed or increases speed incrementally
<SET-> operation:
Sets desired cruise speed or reduces speed incrementally
<CANCEL> switch:
Deactivates the ProPILOT Assist system without erasing the set speed
ProPILOT Assist switch:
Turns the ProPILOT Assist system on or off
DISTANCE switch:
[Far]
[Middle]
[Near]
Steering Assist switch:
Turns the Steering Assist function on or off
Owners Manual