Nissan X-Trail e-POWER Owners Manual | 2024
5.7.1.3. AUTO position
When the power switch is in the ON position and the headlight switch is in the “AUTO” position, the headlights, front clearance lights, instrument panel lights, tail and number plate lights turn on automatically depending on the brightness of the surroundings.
The headlights will turn on automatically at twilight or in rainy weather (when the windscreen wiper is operated continuously).
When the power switch is placed in the OFF position, the lights will turn off automatically.


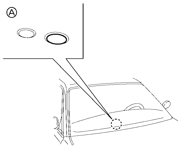
Do not place any objects on top of the sensor (A). The sensor senses the brightness level and controls the Intelligent Auto Headlight function. If the sensor is covered, it reacts as if it is dark, and the headlights will illuminate.
The layout in the illustration is for the Left-Hand Drive (LHD) model. For the Right-Hand Drive (RHD) model, the sensor is located on the opposite side.