Nissan X-Trail e-POWER Owners Manual | 2024
7.8.2.4. Rear temperature control

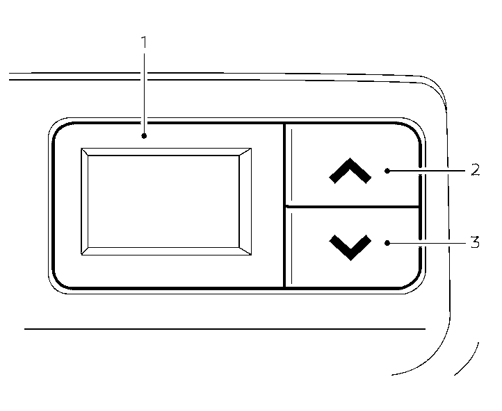
- Rear temperature display
- “
” Rear temperature increase button - “
” Rear temperature decrease button
You can adjust the temperature for rear seat passengers using the buttons located on the back side of the console box.
Owners Manual