Nissan X-Trail e-POWER Owners Manual | 2024
5.5.7. Trip computer


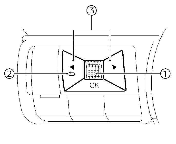
Switches for the trip computer are located on the left side of the steering wheel.
- Scroll dial - navigate through the items and change or select an item in vehicle information display
- this scroll dial allows up/down navigation and push to select
- go back to the previous menu
- change from one display screen to the next (i.e. trip, Fuel economy)
The displayed images may differ depending on the model.
Owners Manual