Nissan X-Trail e-POWER Owners Manual | 2024
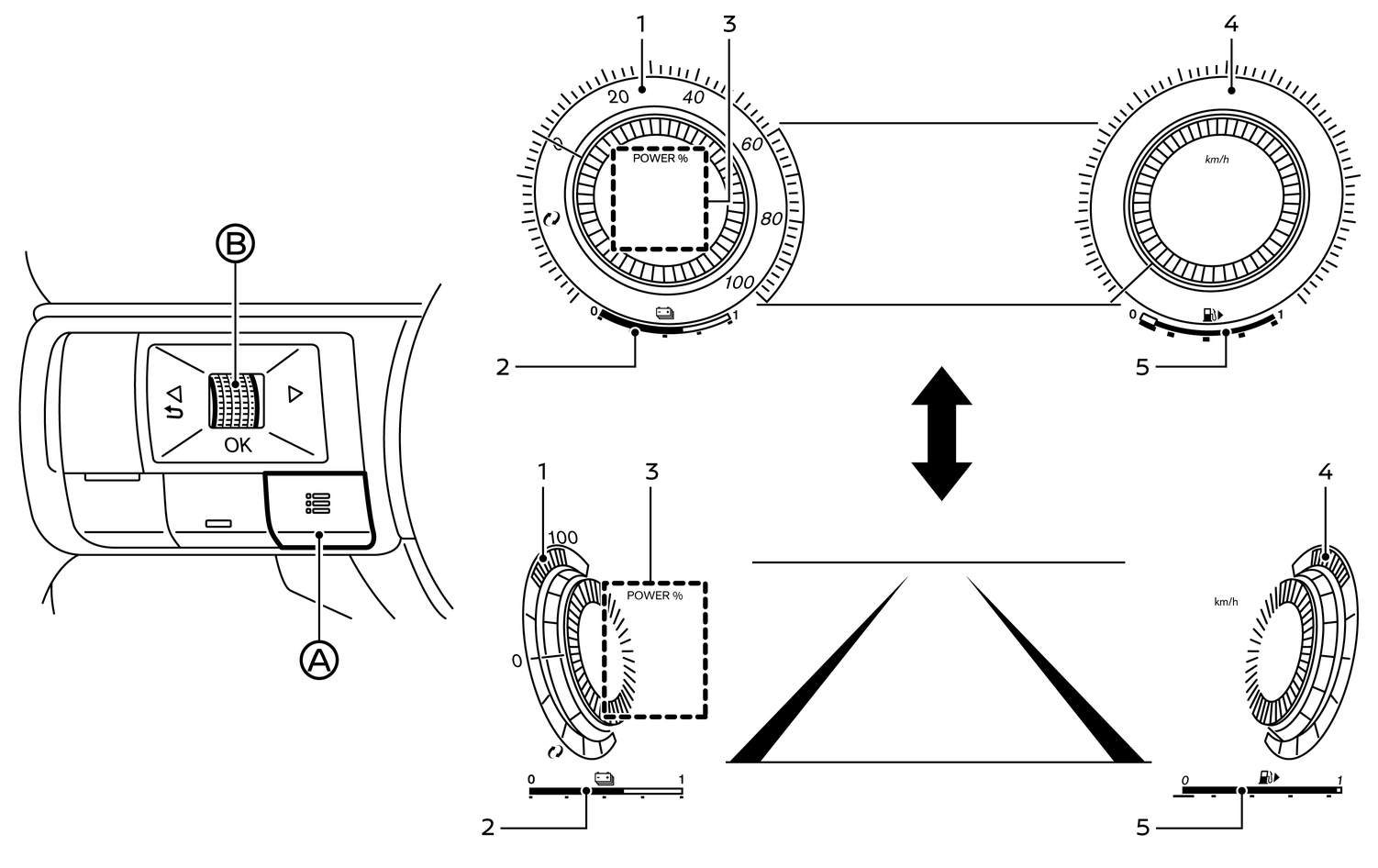
5.3.1.1. Changing the meter screen view (models with full-screen display)

- Power meter
- Li-ion battery available charge gauge
- Personal Display
- Speedometer
- Fuel gauge
For models with full-screen display, the meter screen view can be changed to expand the vehicle information display area.
To change the meter screen view:
Push the shortcut menu button (A) on the left side of the steering wheel.
[Shortcut Menu] appears on the vehicle information display area.
Select [Change Display View] by rotating the scroll dial (B) and push it to change the view.
Owners Manual